Helvede til lavpris
Skrevet af Kathrine Hesner, Pia Bruun, man, 05/02/2018 - 11:46
Fly & trafik
FLY & REJSE: At flyve er for længst holdt op med at være en transportform for velhavere. Men spørgsmålet er dog, hvor små skoene kan blive...
Fly kan i mange tilfælde være billigere end at rejse med bil, bus eller tog.
Men flyselskaberne kæmper stadig med at optimere indtægterne, så komfort, forplejning og benplads er blevet reduceret centimeter for centimeter.
Det er dog stadig ikke nok, og kreative ingeniører arbejder med nye idéer, projekter og prototyper, der svinger mellem genialitet og absurditet.
Blandt de forslag, der snart ser dagens lys er 11 siddepladser per række.
Airbus har opfundet en fordeling på tre, fem og tre pladser per række.
Her får hver passager et sæde, der måler 45,72 centimeter i bredden.
Flere flyselskaber har vist interesse for forslaget, som dog - ikke overraskende - møder modvind blandt kunderne, der i så fald har en ret stor risiko for at få et af de upopulære mellemsæder.
Flyv i lag

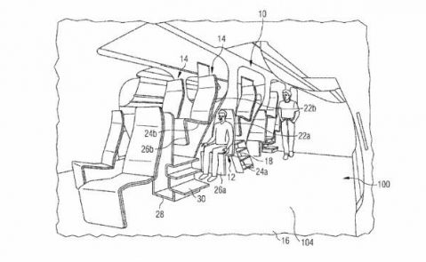
For Airbus er det ikke nok til at pakke sine passagerer som sardiner, da man nu foreslår også at stable dem som ingredienser i en sandwich.
Ideen er at lave nogle sædekøjepladser, hvor passagererne sidder i lag. Nogle vil sidde tættere på loftet end andre, mens de nederste vil kunne se ud på fødderne af de, der sidder øverst.
Fordelen skulle være, at sæderne kan vippes, så passagererne kan læne sig tilbage, hvilket vil være en fordel på langdistanceflyvninger.

Her får man nye venner - om man vil det eller ej
For næsten seks år siden kom Ryanair med en idé om at flyve uden sæder, så passagererne i stedet skulle stå op. Der var vist i virkeligheden tale om en gimmick, og selskabet fik da også gevaldigt med omtale - vi taler jo om det endnu.
Men luftfartsmyndighederne var officielt ude og sige nej.
Kan måske også interessere dig
Farlig adfærd på sociale medier truer færdselssikkerheden
Advarer om hensynsløs opførsel og blær.
Vil grave trafikken på Paseo Marítimo ned for at skabe en ny grøn oase
Palma rykker tættere på havet med nyt kæmpeprojekt.
Spanske regioners landsbyer og restauranter med særkende - del 1
Værsgo’ her får du en guide til spændende oplevelser og gastronomi i alle Spaniens 17 regioner.
Kommentarer
Der er endnu ingen kommentarer til denne artikel
COPYRIGHT: Det er ikke tilladt at kopiere hverken helt eller delvist fra Spanien i dag uden aftale.
Gratis i din indbakke hver dag!
Abonnér på nyhedsbrevet Spanien i Dag og vær på forkant med begivenhederne.
Klik her for at tilmelde dig.




















